Odkaz
  • Conrad
  • Můj účet

    Přihlášení / Registrace

  • Nákupní košík

  • Výprodej - podívejte se na nejlepší cenové nabídky! Výprodej - podívejte se na nejlepší cenové nabídky!
  • Nabídka

    Naše nabídka

    Your Sourcing Platform
    Akce
    Výprodej
    Novinky
    Nejprodávanější
    Marketplace
    Články
  • Značky

    Doporučené značky

    Fluke
    Phoenix Contact
    Wiha
    TOOLCRAFT
    Weller
    Lapp
  • Služby

    Služby pro firmy

    eProcurement
    Cenová poptávka
    Produkty mimo náš katalog
    Kalibrační služba
    Termínované objednávky
  • Naše produkty
  • Můj účet
  • Záložky
  • Odhlásit
Conrad
Domů
Automatizace a pneumatická technika Automatizace Spínací technika Stykače

Siemens 3RT2015-2KB42 stykač 3 spínací kontakty 690 V/AC 1 ks

EAN:
Označení výrobce:
Objednací číslo:
Elektrický stykač značky Siemens, model Sirius. Pohled zepředu s viditelnými přípojkami a nápisem 'SIRIUS'.
Elektrický stykač značky Siemens, model Sirius. Pohled zepředu s viditelnými přípojkami a nápisem 'SIRIUS'.
Průmyslové ovládání strojů vedle deštěm zamlženého okna s výhledem na další výrobní zařízení. Technika a výroba v dokonalé symbióze.
Technický výkres zobrazující různé typy šoupátek a možnosti jejich propojení. Očíslované díly a legenda s vysvětlivkami.
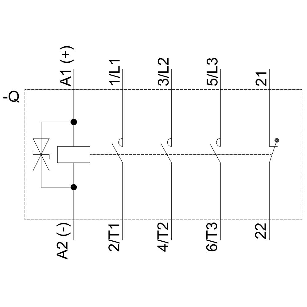
Schéma zapojení: Relé se cívkou A1 (+) a A2 (-), propojené kontakty 1/L1, 3/L2, 5/L3 a výstupem 2/T1, 4/T2, 6/T3, 21, 22.
Technický výkres obdélníkové součástky s různými pohledy. Rozměry jsou uvedeny v milimetrech.
Diagram Siemensova spínacího přístroje SIRIUS s popisem připojovacích svorek.
1/6
Ilustrační obrázek
Kategorie produktu
stykač
Počet pólů
3pólový
Jmenovité napětí
690 V/AC
Připojení
přípojka s pružinovým protitahem
Typ
3RT2015-2KB42
Datasheety: (PDF)
Deutsch (Deutschland)
Siemens
 

4 Ks
Prodej a doprava:
Conrad Electronic Obchodní podmínky

Počet

Celková cena (1 905,00 Kč / kus)
Kč
Už jen 4 ks skladem!
Nahlásit právní incident
  • Více než 1.000.000 produktů

  • Doprava zdarma od 1.500 Kč s DPH

  • Technická podpora

  • Termínované dodávky

  • Cenová poptávka (RFQ)

O Conradovi

O Conradovi

  • Conrad Sourcing Platform

  • Kariéra 2️⃣

  • Naše vlastní značky

  • Vulnerability Disclosure Program

  • Hodnocení obchodu

  • Marketplace

  • Informace o přístupnosti


Nápověda

Nápověda

  • Vše o dopravě zboží

  • Vše o platbě za zboží

  • Reklamace zboží

  • Vrácení zboží

  • Obchodní podmínky

  • Centrum dokumentace


Služby

Služby

  • Všechny služby

  • Kalibrační služba

  • Kabely v metráži

  • Plakáty do škol

  • Poptávkový formulář

  • E-Procurement


Doporučujeme

Doporučujeme

  • ➡️ Články

  • 🛒 Akce & Slevy

  • 🆕 Novinky

  • Kategorie značek A-Z

  • Produktové kategorie A-Z

  • Archiv katalogů

  • Newsletter


Newsletter

Prosím zadejte platnou e-mailovou adresu!

☎ Kontakty

  • velkoobchod@conrad.cz

  • +420 226 224 222

  • Po-Pá od 8:00 do 16:00 hod.

Platební metody
  • Platební karta
  • PayU
  • Platba dobírkou
  • Platba převodem na účet
Přidejte se k nám na sociálních sítích

Všechny ceny jsou bez DPH a nákladů na doručení. Přeškrtnutá cena je vždy nejnižší nabídková cena 30 dní před slevou.

Všechny ceny jsou včetně DPH a nezahrnují náklady na dopravu. Přeškrtnutá cena je vždy nejnižší nabídková cena 30 dní před slevou.

Klima týdny
*20% sleva na vybrané produkty značek Philips a Sygonix, 10% sleva na celý sortiment značky Bosch Home Comfort – s výjimkou produktů s obj. čísly: 2885941 a 3730522. Platí do 07. 06. 2026 na conrad.cz (nevztahuje se na objednávky z Marketplace). Nelze kombinovat s jinými slevovými kódy. Platí 1x na firemního zákazníka / soukromou osobu. V jednotlivých případech může dojít k omezení prodejního množství.

Wiha
*Sleva platí pouze na skladové zboží značky Wiha (stav skladu: zelená). Platnost do 31.05.2026 na conrad.cz. Nelze kombinovat s jinými slevovými kódy. Pouze 1x na firemního zákazníka / soukromou osobu. V jednotlivých případech může dojít k omezení odběrného množství.

  • Všeobecné obchodní podmínky

     

     

     

  • Ochrana osobních údajů

  • Zásady používání souborů cookies

  • Certifikát kvality ISO 9001:2015

Porovnání produktů
Záložky